項目概況
本項為天然氣井場計量生產管匯撬提供RTU數據采集控制系統,實現生產數據采集及上傳,并能夠實現突出事件緊急自動控制。因為天然氣本身的屬性,對整個系統的安全性、穩定性要求極高。各井式井場RTU均采用9井式RTU模式,因其需要采集和控制的儀表種類多,數量大,因此對RTU整體的采集控制性能提出更高的要求。
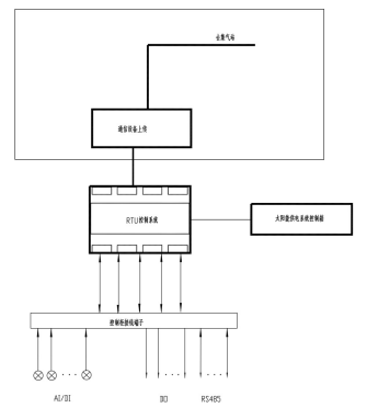
系統組成
1、現場計量撬儀表傳感器
包括管線壓力、油壓、井口壓力變送器27臺(AI),流量計9套(RS485溫度、瞬時流量、累積流量),電動開關閥9套,電磁閥SDV(緊急判斷)閥9個、視頻監控——作用是現地檢測,設備監測控制
2、9井式RTU控制柜——數據采集上傳,下達控制
3、傳輸網絡:光纖
4、上級站場監控中心




系統介紹
◆RTU系統控制柜
*計量撬運行數據采集:生產計量橇參數:管線壓力、溫度、管線瞬時、累計流量(旋渦流量計9臺,RS485);
*計量撬設備運行狀態監測;
*氣動開關閥9臺,配套遠程關斷用電磁閥SDV 閥(9個)反饋信號:開狀態、關狀態,無源觸點;
*視頻數據采集:攝像機信號接入RTU 箱內交換機;
*供電系統監測:太陽能裝置運行情況監測,RS485輸出;
*RTU本地/遠程控制:現場配有組態觸摸屏,及MGTR-W4040 智能終端,通過監控出氣流量、壓力 ,在超壓和低壓時實現自動關閉閥門,即緊急情況下自動關斷閥門。支持遠程關閥,停產維護。
◆供電系統
井場的監控攝像機供電均由太陽能供電系統提供,供電電壓為DC 24V。太陽能供電系統需保證通信設備24h正常工作,同時其儲備電量至少可以滿足5個連續陰雨天的供電要求。
◆井場視頻監控
監控系統對整個井場設備運行及人員活動區域實現全天候監視,預防各類盜竊、破壞井場設施事件發生,保證生產安全。在井場的非防爆區域設置高清網絡紅外球形攝像機,攝像機安裝在光伏發電桿上(4m),數據通過超五類屏蔽雙絞線接入井場 RTU 控制柜內的網絡交換機,最終通過光纖將視頻圖像上傳至上級站場。
系統特點
◆整體設計原則:安全、適用、經濟、可靠;
◆現場安裝及使用工況惡劣,所有產品均要求工業線標準,耐溫-40~80℃;
◆箱體采用室外安全防護箱,涼亭設計,具有防雨,通風,隔熱的功能;
◆現場為太陽能供電,要求系統工作功耗低,整體功耗≦30W;
◆RTU箱除DO點外,所有信號均安裝安全柵浪涌保護器,提高整體安全性;
Copyright ? 2022-2025 All Rights Reserved. 冀ICP備12015236號-1